ого в 3Д в автокаде научилсо малявать

Модераторы: Darkroom, Konstantinovich, 116aavl, SanSanish

так предостерегаю

116aavl писал(а):ppp4
ого в 3Д в автокаде научилсо малявать
И резьбу наубился делать...
вот уж эти сука крови моей попила...ce3am писал(а):ого новый последователь КВП появляется ... смотри - думай , ничего личноготак предостерегаю
ce3am писал(а):ps когда малюеш чегонить , задумайся как это можно вырезать, и как вырезать проще , разбивай на запчасти желательно типовые чтоб фрезеровщик или токарь за голову не хватались и не сильно задумывались:![]()
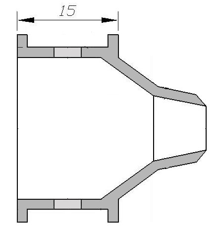
а про что это? не глушитель ли часом...
ce3am писал(а):и чем тебе "ФЛЕЙТА КВП" непонравилась ? Афторитетно ведь заявил что она работает, и даже правильную картинку прилепил
Самое убитое говно с прямыми перегородками - это моё будущее, судя по всему :)

Hawk80 писал(а):Каков порядок официальной покупки СО2 винтовки в РБ?
Конкретизирую. Можно ли получить тот же кубик по почте?
ce3am писал(а):ого новый последователь КВП появляется ... смотри - думай , ничего личноготак предостерегаю
Кстати а у тебя как появилось одно из священных изображений творения великого Мастера?! 
Почемуroot писал(а):Hawk80 писал(а):Каков порядок официальной покупки СО2 винтовки в РБ?
Конкретизирую. Можно ли получить тот же кубик по почте?
По почте не пройдет.
,всем вроде доходит 
ppp4 писал(а):Вот 2 последних варианта, левый - это предпоследний Самое убитое говно с прямыми перегородками - это моё будущее, судя по всему :)
Там всегда было написано диаметр, я и думал, что это диаметр, а это ПЕРЕКЛЮЧЕНИЕ НА ДИАМЕТР, сука! А я все сидел и думал: нихера себе! я все это иначе представлял
Ёмоё! фэйспалм
чужой писал(а):- зачем в этом соске перегородки ???????


Вот же я упоротое существо то
Как можно было не заметить сразу!116aavl писал(а):ppp4
может лучше выкинуть всю родную начинку да сделать новую по питерской схеме, и доп не понадобится ?
116aavl писал(а):ppp4может лучше выкинуть всю родную начинку да сделать новую по питерской схеме, и доп не понадобится ?
чужой писал(а):Основное глушение звука ОСУЩЕСТВЛЯЕТ ОБЪЕМ МОДЕРАТОРА.А перегородки, это так для отсекания - деления потоков воздуха.

Это нормально или нет? Сейчас этот форум просматривают: нет зарегистрированных пользователей и гости: 18