forum.Ohota.by в Telegram - ВОЙТИ

ЗС нид хелп.

Техническое обслуживание, диагностика

Модераторы: Konstantinovich, Darkroom, 116aavl, SanSanish

Правила форума
Запрещается публикация материалов, направленных на нарушения законодательства Республики Беларусь
Поделиться ...

ЗС нид хелп.

Сообщение Комедиант_пессимист » 10 авг 2015, 14:03

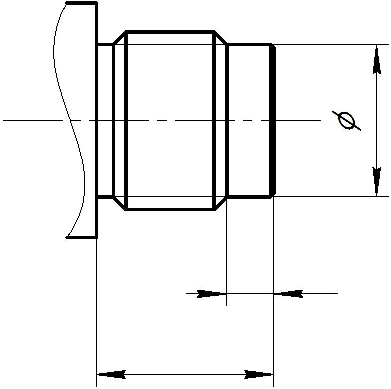
Человеки не в службу, а вдружбу, померяете кто хвостовик ЗС с наружней резьбой G5/8. Нужны те размеры что на картинке и желательно не линейкой мерять, а как положено ШЦ-1-125-0,05 ГОСТ 166. :-):
Вложения
Фрагмент.jpg
Комедиант_пессимист
Полноправный участник
 
Сообщения: 32
Зарегистрирован: 08 май 2014, 21:08
Репутация: 0 [ ? ]
Благодарил (а): 1 раз.
Поблагодарили: 2 раз.

forum.Ohota.by в Telegram - ВОЙТИ

Re: ЗС нид хелп.

Сообщение dima.22 » 10 авг 2015, 14:30

Эдгановская станция : диаметр 19.98, длина 26,7, до резьбы 9,95. У меня так, или руки такие :-)
-- Скажите, а зачем вы добиваетесь свободного ношения пистолета?
-- Потому, что постоянно носить с собой всего милиционера значительно труднее.
Аватара пользователя
dima.22
Гуру
 
Сообщения: 1219
Зарегистрирован: 31 мар 2013, 18:11
Откуда: Минск
Репутация: 19 [ ? ]
Благодарил (а): 69 раз.
Поблагодарили: 423 раз.

Re: ЗС нид хелп.

Сообщение Комедиант_пессимист » 10 авг 2015, 14:40

dima.22 писал(а):Эдгановская станция : диаметр 19.98, длина 26,7, до резьбы 9,95. У меня так, или руки такие :-)

Спасибо, очень похоже на правду. :co_ol:
Может еще кто, чтоб исключить возможную ошибку?
Комедиант_пессимист
Полноправный участник
 
Сообщения: 32
Зарегистрирован: 08 май 2014, 21:08
Репутация: 0 [ ? ]
Благодарил (а): 1 раз.
Поблагодарили: 2 раз.

Re: ЗС нид хелп.

Сообщение garry79 » 10 авг 2015, 20:57

ЗС от Peterson_а:
Вложения
Фрагмент.jpg
Фрагмент.jpg (29.44 КБ) Просмотров: 4122
Аватара пользователя
garry79
Гуру
 
Сообщения: 1235
Зарегистрирован: 31 мар 2013, 08:07
Откуда: Минск
Репутация: 21 [ ? ]
Благодарил (а): 10 раз.
Поблагодарили: 336 раз.

Re: ЗС нид хелп.

Сообщение Комедиант_пессимист » 10 авг 2015, 23:01

Спасибо за помощь.
Дело ясное сначало балон заберу, а потом глаза в кучу и пилить.
Комедиант_пессимист
Полноправный участник
 
Сообщения: 32
Зарегистрирован: 08 май 2014, 21:08
Репутация: 0 [ ? ]
Благодарил (а): 1 раз.
Поблагодарили: 2 раз.


Кто сейчас на конференции

Сейчас этот форум просматривают: нет зарегистрированных пользователей и гости: 3